Škripac



Škripac služi za čvrsto stezanje predmeta pri obradi (ručnoj ili strojnoj).
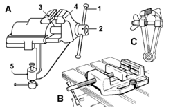
Škripac je ime za alat odnosno mehanički vijak (navojno vreteno) koji služi za držanje ili pričvršćivanje dijela na kojem se vrši mehanička obrada alatima kao što su bušilica, pila i čekić. Škripci obično imaju dvije čeljusti, jedna je nepomična (fiksna) a druga je pomična koja se primiče ili odmiče od nepomične čeljusti.
Podjela
Škripac s paralelnim čeljustima
Škripac s paralelnim čeljustima ili bravarski škripac se sastoji od dvije čeljusti od kojih je jedna nepomična, a druga pomična i klizi po vodilicama. Otvaranje i zatvaranje čeljusti vrši se pomoću ručice koja okreće navojno vreteno vođeno u matici. Postoje dvije vrste škripaca s paralelnim čeljustima:
- s pomičnom prednjom čeljusti i
- s pomičnom stražnjom čeljusti.
Dijelovi škripca s paralelnim čeljustima su: pomična čeljust, nepomična čeljust, ulošci (na čeljustima), ručica, navojno vreteno i postolje.
Kovački škripac
Kovački škripac služi za stezanje predmeta obrade u kovačnicama, kao i za teške poslove koji uvjetuju jake oscilacije nastale od udaraca čekićem po predmetu stegnutom u škripac. Kovački škripac se izrađuje od kovanog čelika. Kovački škripac ima slične dijelove kao i škripac s paralelnim čeljustima osim što nema zamjenjive uloške.
Mali ručni škripac
Mali ručni škripac služi za stezanje vrlo malih predmeta, a da bi se oni mogli stegnuti u ostale vrste škripaca ili za stezanje dijelova posebnog (specijalnog) oblika. Postoje ručni škripci za širu primjenu, ručni škripci za cijevi, ručni škripci za skošenje bridova i drugi. [1]
Izvori
- ↑ Mijo Matošević: "Tehnologija obrade i montaže", udžbenik za I razred strojarske struke, Um d.o.o., 2005.