Tijesak








Preša ili tijesak (njem. Presse < srednjovj. lat. pressa, prema klas. lat. pressus: stisnut) je stroj za sabijanje tiještenje, tiskanje, probijanje, sječenje, kovanje i druge vrste obrada kod kojih se primjenjuje velika sila na razmjerno malenu putu. Način rada se zasniva na sabijanju materijala pokretnim alatom koji ima okomito vođenje, a predmet se nalazi na stabilnom postolju. Preša djeluje lagani, uz postupni porast sabijajuće sile koja dolazi i do jezgre predmeta. Prednost rada s prešama je ravnomjerno sabijanje, tih i miran rad, a nedostatak je skuplji rad u odnosu na rad s mehaničkim čekićima (bat). [1]
Namijenjena je ponajprije tlačnom opterećivanju obratka ili njegovoj deformaciji pravocrtnim gibanjem malja ili drugog alata prema radnomu stolu. Jednostavna drvena preša s navojnim vretenom od davnine je služila za cijeđenje grožđa, uljarica i slično, a prvi tiskarski strojevi također su bili jednostavne preše kojima se drvena ploča sa slovima pritiskala na papir. Za potrebe obrta i industrije razvijen je niz preša različitih po konstrukciji, namjeni i pritisku. Prema izvedbi razlikuju se vretenasta, mehanička i hidraulička preša. [2]
Preša je alatni stroj konstruiran za primjenu vrlo velike snage za oblikovanje ili rezanje materijala. Preše se izrađuju u rasponu od malih ručnih do velikih industrijskih postrojenja. Odlikuje ih mirniji rad od batova, te sa zato mogu koristiti većim silama. [3]
Vrste preša
Prema načinu rada preše se dijele na:
- vretenaste preše:
- vretenaste ručne preše,
- vretenaste tarne (frikcijske) preše,
- vretenaste hidrauličke preše,
- vretenaste električne preše,
- mehaničke preše:
- ekscentar preše,
- koljenaste preše,
- hidrauličke preše.
Vretenasta preša
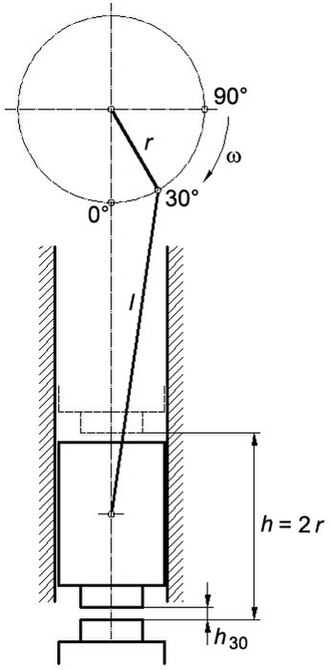
Vretenasta preša pretvara kružno gibanje zamašnjaka u pravocrtno gibanje malja uz pomoć navojnoga vretena. Zamašnjak se pokreće ručnim, hidrauličnim ili električnim putem (kada je rotor elektromotora ujedno i zamašnjak). Na nekim prešama zamašnjak se kreće u jednome pa u drugome smjeru, a kod drugih stalno se vrti (rotira) u istom smjeru. Vretenasta preša može biti različitih veličina, od one male, s radnom moći od 1 do 10 kJ (od 0,1 do 1 tonu) i ritmom rada od 40 do 60 hodova u minuti, pa do velike, koja ostvaruje 6 000 do 10 000 kJ (od 600 do 1 000 tona), uz 6 do 15 hodova u minuti.
Vretenasta ručna preša
Vretenasta ručna preša izrađuje se u portalnoj (most) i konzolnoj izvedbi. Kolo preše se ručno zakreće i prenosi se okretni moment na navojno vreteno (obično promjera 78 mm). Navojno vreteno je spojeno na gornju čeljust preše. Hod je 260 mm, površina pritiska 470 ˑ 230 mm, dok je pritisak do 28 tona. Izrazito veliki pritisak ručne preše ne zahtjeva jako temeljenje, nema prijenosa, vibracija, jednostavne je konstrukcije, jednostavna je upotreba i održavanje.
Vretenasta tarna ili frikcijska preša
Najčešći tip frikcijske ili tarne preše ima tarni prijenos s dva okomita tarna diska (tarenicu 1 i tarenicu 2) i jedan vodoravni gonjeni tarni disk (tarenicu 3). Tarenica 3 je na okomitom navojnom vretenu (viševojnom) s trapeznim navojem. Na drugom kraju vretena je čeljust (bat) preše. Pogonske tarenice 1 i 2 su na vodoravnom vretenu i dobivaju okretni moment od zamašnjaka spojenog remenskim prigonom na remenicu elektromotora. Upravljački mehanizam omogućuje dodir samo jedne od pogonskih tarenica s gonjenom i time određuje pravac rotacije vretena. U kombinaciji tarenica 1 i tarenica 3, navojno vreteno se spušta i bat preše ima sve veću brzinu. Najveća je u trenutku dodira s otpreskom. Bat tlači otpresak, ali se sila ne može povećavati, jer dolazi do proklizavanja između tarenica. Obrnuti slučaj je kontakt tarenice 2 i tarenice 3, kada se navojno vreteno podiže i odvaja bat od otpreska. Koriste se za prešanje u kalupima (ukovnjima) u toplom i hladnom stanju.
Tarne preše se koriste za kovanje u dvodjelnim ukovnjima sa samo jednom gravurom, u maloserijskoj proizvodnji predmeta, kao što su vijci, zakovice, svornjaci i slično. Sastoje se od navojnog vretena koje je s gornje strane spojeno sa zamašnjakom, a s donje strane s batom. Na vodoravnom vratilu nalaze se dva tarna (frikciona) diska, koji dolaze u dodir sa zamašnjakom i omogućuju gibanje po kliznim vodilicima, u radnom ili povratnom hodu.
Vretenasta hidraulička preša
Kod tarnih preša okretni moment tarenice zamašnjaka se dobiva tarnim prigonom s pogonskom tarenicom, koja je spojena remenom na elektromotor. Kod hidrauličkih vretenastih preša okretni moment zamašnjaka dobiva se iz rotacije hidrauličkog motora koji okreće zamašnjak tarenicom. Također postoje konstrukcije koje okreću zamašnjak pomoću mehanizma sa zupčastom letvom. Svojstva vretenastih preša su jednostavnost konstrukcije, bez djelovanja na okolinu, lako se određuje ritam rada, bez specijalnih zahtjeva za temeljenjem, duga trajnost i lako održavanje (osim hidraulike), pogodne za jednu centralnu gravuru, nisu pogodne za obradu malih predmeta u toplom stanju jer su prespore, jako troše tarne površine.
Vretenasta električna preša
Vretenaste električne preše imaju elektromotorni pogon koji direktno tarenicom ili srednjim remenom pogoni zamašnjak.
Mehanička preša
Mehanička preša pretvara kružno gibanje zamašnjaka u pravocrtno gibanje malja uz pomoć motornoga mehanizma s ekscentarskim ili koljenastim vratilom, uz dodatak polužnoga mehanizma ili mehanizma klina. Stoga se razlikuje ekscentarska preša (s razmjerno kratkim hodom malja), koljenasta preša (s dužim putem malja), polužna preša i preša s klinom. Ima najširu primjenu u proizvodnom strojarstvu, a također se primjenjuje u prehrambenoj industriji, industriji ambalaže i pakiranja, industriji lijekova i drugdje. Male mehaničke preše razvijaju silu do 1 000 kN (100 tona), one najveće i do 160 000 kN (16 000 tona); ritam rada je od 40 do 800 i više hodova u minuti, ovisno o namjeni i sili.
Mehanička ekscentar preša
Elektromotor okreće zamašnjak na kojem je ekscentar (dio koljena koljenastog vratila), koji se koristi za pretvaranje kružnog gibanja u pravocrtno (preko ojnice koja obavlja oscilacijsko ili titrajuće gibanje). Koriste se za sve vrste obradaka (od najmanjih do najvećih) i obrade prešanjem u toplom i hladnom stanju, rade s velikom točnošću i preciznošću, relativno jednostavne konstrukcije i izvedbe, ali visoke produktivnosti i ekonomičnosti. Trajnost im je duga, jednostavne su za održavanje i lako se automatiziraju. Nedostatak im je visoka cijena i stručno posluživanje.
Ekscentar preše se koriste za brzo kovanje predmeta malih izmjera (dimenzija). Sastoji se od kućišta u kojem se okreće ekscentar vratilo, koje je spojeno s klipnjačom, koja je spojena s klizačem na kojemu se nalazi bat. Time se pretvara kružno gibanje vratila elektromotora u izmjenično pravocrtno gibanje klizača s batom. Sve ove preše imaju posebnu tarnu grupu koja služi za uključivanje i isključivanje prijenosa gibanja sa zamašnjaka na ekscentar vratilo, kao i kočnicom za zaustavljanje gibanja ekscentar vratila.
Mehanička koljenasta preša
Mehanička koljenasta preša se danas u masovnoj proizvodnji sve češće upotrebljava umjesto bata. Rotacijsko gibanje se iz elektromotora, reduktora i spojke prenosi na koljenasto vratilo, koje ima jedno ili dva koljena. Na koljeno je spojena ojnica (klipnjača), koja se giba oscilacijski (titranje), te pretvara rotaciju koljena u translaciju klizača u vodilicama preše. Na klizaču je bat kojim se preša obradak. [4]
Hidraulična preša
Hidraulična preša ili hidraulička preša je uređaj s pomoću kojega se mogu proizvesti vrlo velike sile tlačenja, dizanja, probijanja, oblikovanja i slično. Sastoji se od dvaju međusobno spojenih cilindara, ispunjenih tekućinom. Hidraulična preša djeluje na principu jednakoga širenja tlaka na sve strane u tekućinama (Pascalov zakon: u tekućini koja se nalazi u zatvorenoj posudi vanjski tlak širi se jednako na sve strane, to jest čestice tekućine prenose tlak u svim pravcima jednako). Tlak u malome cilindru nastaje zbog gibanja malog klipa, koji se pomiče ručno preko poluge ili elektromotorom. Tlak proizveden u malome cilindru prenosi se u veliki cilindar, gdje djeluje na veliki klip. Tlakovi su u oba cilindra jednaki, ali zbog različitih promjera klipova sile su na klipovima i brzine pomicanja klipova različite. Sila koja podiže veliki klip onoliko je puta veća od sile kojom mali klip pritišće tekućinu koliko je površina presjeka velikog klipa veća od površine presjeka malog klipa. Brzine pomicanja klipova obrnuto su proporcionalne površinama klipova, to jest hod velikoga klipa onoliko je puta manji od hoda maloga klipa koliki je omjer površine presjeka klipova. Dio je hidraulične preše i spremnik tekućine, iz kojega pumpa (mali cilindar), preko nepovratnoga ventila siše tekućinu za dizanje velikoga klipa, u koji se tekućina vraća posebnim vodom kada se klip spušta. Kao radna tekućina danas se najčešće upotrebljava ulje ili emulzija ulja s vodom (hidraulički fluid). Male prijenosne hidraulične preše služe kao dizalice za automobile, ali se izrađuju i za sile dizanja veće od 1 000 000 N (100 000 tona). Stabilne hidraulične preše služe kao dizalice (na primjer u autoservisima) i kao preše u mnogim granama industrije. Hidraulične preše imaju svestranu primjenu, ali im je nedostatak mala radna brzina. [5]
Hidraulična preša razvija silu malja uz pomoć hidrauličnih cilindara i tekućine pod tlakom do 300 bara, koji se postiže uz pomoć klipne ili krilne pumpe (crpka). Gradi se za sile od 100 kN do 300 000 kN i više, a razvija najveću dopuštenu silu na cijelome putu malja. Nezaobilazna je u proizvodnji profila od aluminijskih legura isprešavanjem (ekstruzijom), proizvoda iz bakrenih slitina za vojne potrebe, pri izradbi dijelova brodskoga trupa u brodogradnji i drugdje. Hidrauličke preše se koriste za slobodno kovanje većih i težih otkivaka, za kovanje u ukovnjima, za skidanje srha, te za radove s limovima (na primjer savijanje limova). Iako prema vrsti kovanja postoje i konstruktivne raznolikosti među hidrauličkim prešama, zajednička svojstva su im male i jednolike brzine gibanja alata, miran rad, nešto niža produktivnost od batova, te veća cijena. Preše se koriste kod velikih otkivaka da se izbjegnu veliki batovi, koji negativno utječu na okolinu, te za materijale lošije plastičnosti, koji ne podnose udarce i nagle promjene oblika. Hidraulički motor je pretvarač mehaničke energije nekog pogonskog stroja (najčešće elektromotora) u energiju tlaka hidrauličkog fluida (mineralna ulja).
Prednosti hidrauličkog pogona su: u prijenosu velikih sila (dok je postrojenje malih dimenzija), laka promjena smjera kretanja izvršnog člana (klipa ili hidromotora), laka i kontinuirana promjena brzine pomoću prigušnica ili regulatora protoka, lagan i brz prijelaz s malih na velike brzine (i obrnuto), lagani prijelaz s rotacionog u translacijsko gibanje, kontinuirana regulacija i lako ograničenje pritiska, tihi rad i jednostavna konstrukcija, u slučaju preopterećenja jednostavno isključivanje i zaustavljanje, lagana automatizacija sustava. Zbog ovih prednosti hidraulike, korištenje hidrauličkih preša je više nego opravdano. [6]
Povijest
Primjena vijka se javlja u 3. st. pr. Kr. Jedna od prvih primjena, a možda i prva, je naprava za podizanje vode poznata kao Arhimedov vijak, korišten za dizanje vode iz kanala ili za izbacivanje vode iz broda. Bez obzira na to prihvaćamo li tradiciju da je sam Arhimed odgovoran za taj izum ili da je poboljšao vijak koji je već bio u uporabi u drevnom Egiptu i Mezopotamiji ili nešto treće, treba naglasiti da vijak, daleko više od bilo kojeg drugog jednostavnog stroja, ovisi o razradi i primjeni matematičke konstrukcije.
Druga važna primjena vijka je tijesak s vijkom. Najjednostavniji tijesak za ulje ili vino sastojao se od poluge ili grede koja je izravno pritiskana. Ta je naprava najprije izmijenjena pomoću različitih mehanizama, poput konopca koji prelazi preko valjka, ili vijka, da bi se pojačao pritisak na kraj poluge. Tada dolazi na red tijesak s vijkom u pravom smislu, u kojem se ne pritiska neizravno na kraj grede, već izravno na vrh samog tijeska pomoću vijka ili para vijaka. Plinije Stariji, pišući oko 75. godine, kaže da je takav tijesak uveden unatrag posljednje 22 godine, premda na neke vrste tijesaka s vijkom upućuje već Vitruvije oko 25. pr. Kr. Potanki prikaz tijeska s dva vijka je dao Heron (O mehanici), koji je koristio vijak u mnogim svojim napravama i koji je prvi opisao napravu za narezivanje vijaka. [7]
Tijesak kao sprava za odvajanje tekućine od tvrdih tvari bila je sastavnim dijelom opreme svake stare ljekarne.[8] Jedni od najstarijih tijesaka su tijesci za grožđe.
Izvori
- ↑ Mijo Matošević: "Tehnologija obrade i montaže", udžbenik za I razred strojarske struke, Um d.o.o., 2005.
- ↑ preša ili tijesak, [1], "Hrvatska enciklopedija", Leksikografski zavod Miroslav Krleža, www.enciklopedija.hr, 2015.
- ↑ [2] "Alatni strojevi I", dipl. ing. strojarstva Ivo Slade, www.cnt.tesla.hr, 2012.
- ↑ "Tehnička enciklopedija", glavni urednik Hrvoje Požar, Grafički zavod Hrvatske, 1987.
- ↑ hidraulična preša, [3], "Hrvatska enciklopedija", Leksikografski zavod Miroslav Krleža, www.enciklopedija.hr, 2015.
- ↑ [4] "Obrada materijala II", dipl. ing. strojarstva Ivo Slade, www.cnt.tesla.hr, 2012.
- ↑ G.E.R. Lloyd: "Greek Science After Aristotle", W.W.Norton, New York, 1973.
- ↑ Dubrovački vjesnik DV Što je to tijesak? 3. prosinca 2017. (preuzeto 28. siječnja 2019.)