Krilo zrakoplova


Krilo je glavna aerodinamička noseća površina aviona na kojoj se stvara sila uzgona. Najvažniji je i najčešće najteži dio zrakoplova. O njegovoj konstrukciji i aerodinamičkim osobinama ovise i osobine cijelog zrakoplova.
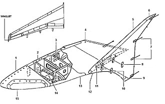
Osnovni elementi konstrukcije krila:
Ramenjače
Ramenjače su osnovni dio konstrukcije krila. U krilu može biti ugrađena jedna (na manjim zrakoplovima s malim opterećenjima tijekom leta) ili više ramenjača, glavna i pomoćne. Izrađuju se od metala, najčešće duraluminija. Na nju se prenose aerodinamičke sile koje nastaju tijekom kretanja zrakoplova po zemlji i u letu: moment savijanja (pozitivni i negativni), tangencijalni moment savijanja, tangencijalna sila, moment uvijanja i vibracijska opterećenja. Oblik poprečnog presjeka ramenjače može biti u obliku slova U, duplo T, kutijast s jednostranim U ili kutijast s obostranim U. Veličina opterećenja i težnja za što lakšom konstrukcijom imaju presudnu ulogu u odabiru poprečnog presjeka. Do danas najčešće primjenjivani oblici ramenjače su kutijasti i duplo T.
Rebra
Rebra su poprečni elementi krila predviđena za prijenos lokalnih opterećenja sa oplate na ramenjače. Ujedno krilu daju i oblik. Izrađuju se od metala (najčešće duraluminija), sintetičkih materijala i sve rjeđe od drva. Rebra kao elementi strukture krila opterećena su aerodinamičkim silama koje djeluje neposredno na oplatu, a odatle se prenose na ramenjaču. Prilikom savijanja krila osne sile oplate uslijed iskrivljenja krila na rebrima izazivaju opterećenje pritiska.
Uzdužnice
Uzdužnice su metalni profili postavljeni uzduž krila. Pojačavaju konstrukciju krila, služe za pričvršćivanje oplate i na sebe primaju dio opterećenja.
Oplata
Oplata prekriva kostur konstruktivnih elemenata krila i daje mu željeni aerodinamički oblik. Zadatak joj je da prenosi opterećenja i prekriva vanjsku površinu krila. Može biti metalna, platnena ili od ljepenke. Od oplate se zahtjeva dovoljna glatkoća po vanjskoj površini radi što manjeg aerodinamičkog otpora. Metalna oplata izrađuje se od duralnog lima debljine 0,5-5mm. Mjesta kritičnog naprezanja pojačavaju se uzdužnicama. Metalna oplata učvršćuje se na kostur krila pomoću zakovica koje moraju osigurati dobro nalijeganje i dovoljno čvrstu vezu oplate s konturom krila.
Napadna ivica
Napadna ivica je dio krila ispred prednje ramenjače. Kao najizloženija površina krila tijekom leta prima velika dinamička opterećenja. Konstruktivno su ojačana gušćim postavljanjem uzdužnica te pojačavanjem prednjeg dijela rebara. Unutar napadne ivice nalaze se spojevi mehanizma za pokretanja predkrilaca, sustav protiv zaleđivanja krila tijekom leta, sustav za dovod zraka do motora, električne, hidraulične i instalacije za zrak.
Izlazna ivica
Izlazna ivica je stražnji, najtanji dio aerodinamičke površine. U dijelu izlazne ivice korijena krila (prema trupu zrakoplova) i prema vrhu krila rebra su skraćena radi pričvršćivanja zakrilca i krilca.
Vrh krila
Vrh krila (eng. Winglet, također terminezon) je mala uzdignuta površina spojena na vanjski završetak krila zrakoplova, obično približno okomito na strukturu krila. On sprječava izjednačavanja tlakova na vrhu krila. Uslijed razlike tlakova između donje (pozitivan tlak) i gornje (negativan tlak) strane krila strujnice zraka nastoje priječi sa donje na gonju stranu krila, što dovodi do vrtloženja. Ugradnjom "winglet"-a smanjuje se vrtloženje oko vrha krila čime se dodatno smanjuje njegov inducirani otpor. Rezultat je smanjenje potrošnje goriva, a ujedino i povećanje doleta zrakoplova.
Opis slike:
- Oplata
- Rebro
- Poklopac
- Oplata
- Završna oplata
- Gornji završni dio
- Pražnjenje statičkog elektriciteta
- Pristupni panel
- Donji završni dio
- Pristupni panel
- Pin
- Aerodinamička oplata
- Oplata
- Pristupni panel
- Navigacijsko svjetlo
Upornice
Upornice su noseća veza krila sa trupom, a pojavljuju se kod konstrukcija krila koja nisu slobodnonoseća. Upornice znatno smanjuju opterećenja krila uslijed momenta savijanja, što omogućuje smanjivanje težine krila. S aerodinamičkog stanovišta, upornica predstavlja povećanje štetnog otpora zrakoplova pa time i pogoršanje njegovih osobina. Međutim krilo sa upornicom ima znatno manju masu od slobodnonosećeg krila, zbog čega se upornice vrlo često susreću na manjim zrakoplovima s manjim brzinama leta.
Mehanizacija krila
Krilca
Krilca ili "eleroni" služe za upravljanje zrakoplovom oko uzdužne osi – u letu naginju zrakoplov na lijevu ili desnu stranu. Nalaze se na krajevima krila pričvršćeni na konstrukciju izlazne ivice. Radi što veće efikasnosti postavljaju se što bliže vrhovima krila. Na jednom krilu krilce se otklanja prema dolje stvarajući tako porast uzgona i podizanje krila. Istovremeno na drugom krilu otklon krilca je prema gore što smanjuje uzgon i krilo se spušta (Komande leta).
Opis slike:
- Unutarnje krajnje rebro
- Rebra
- Izlazna ivica
- Gornja oplata
- Ispražnjivači statičkog elektriciteta
- Donja oplata
- Vanjsko krajnje rebro
- Okovi šarke
- Ramenjača
- Okovi šarke
- Okovi za pokretač
- Okovi šarke
Zakrilca
Zakrilca su površine za povećanje uzgona koje mijenjaju ukupan uzgon krila povećanjem zakrivljenosti profila, a ponekad i povećanjem površine krila ("Fowler" zakrilce). Osim povećanja uzgona, zakrilca također povećavaju i aerodinamički otpor. Nalaze se na izlaznoj ivici krila prema trupu zrakoplova. Konstrukcijski su slična konstrukciji krila. Najčešći tipovi zakrilca koji se susreću u primjeni su: obično zakrilce, "fowler zakrilce" te zakrilce sa procjepom.
Opis slike:
- Osovina okretanja
- Brtveni spoj
- Rebro
- Spoj podizača
- Izlazna ivica
- Rebra
- Rebro
- Brtveni spoj
- Spoj podizača
- Upornica hoda
- Nosač
- Napadna ivica
- Spoj podizača
- Upornica hoda
- Spoj pokretača
Predkrilca
Predkrilca su uređaji za povećanje uzgona koji se nalaze ispred ili u samoj napadnoj ivici krila. Osiguravaju bolje opstrujavanje zraka oko aeroprofila krila i smanjuju zračna vrtloženja na gornjaci krila.
Opis slike:
- Izvučeno predkrilce
- Uvučeno predkrilce
- Struktura napadne ivice
- Prednja ramenjača
- Cijev šine
- Zupčanik
- Šina
Aerodinamička kočnica
Aerodinamička kočnica je pomična površina na gornjoj strani krila koja svojim podizanjem kvari opstrujavanje zraka oko aeroprofila i povećava otpor u svrhu kočenja ili upravljanja zrakoplova.
Opis slike:
- Brtva
- Jezgra u obliku pčelinjih sača
- Profil izlazne ivice
- Gumirana traka
- Unutarnja šarka
- Okov za hidrauliku
- Centralna šarka
- Napadna ivica
- Vanjski šarka
Materijali za izgradnju krila
Metali
U gradnji krila važno je postizanje određene otpornosti uz što manju težinu. Jedan od zahtjeva koji se postavljaju pred metale i uopće pred materijale od kojih se izrađuju krila je i otpornost na zamor. Poslije određenog broja naizmjeničnih opterećenja kod čelika nastupa na određenoj granici otpornost na zamor, koja se ne mijenja ma koliko dalje povećavali učestalost naizmjeničnih opterećenja. Ova granica, koja zavisi od vrste čelika, može biti manja i za 50% od čvrstoće pri stacionarnom opterećenju. Kod lakih legura ne postoji granična vrijednost otpornosti na zamor koja bi pri daljem djelovanju naizmjeničnih opterećenja ostala stalna, već se povećanjem učestalosti naizmjeničnog opterećenja uočava stalni pad čvrstoće. U izradi krila od metala se koriste legure čelika i aluminija (duraluminij).
Kompozitni materijali
Danas se sve češće za izradu dijelova krila koriste kompozitni materijali (armirana plastika). Zahvaljujući maloj težini, a velikoj čvrstoći, kompozitni materijali su uspjeli u gradnji lakih konstrukcija gotovo istisnuti dosad upotrebljavane materijale (aluminij, drvo, čelik itd.). U gradnji zrakoplova ovi materijali su našli svoju punu primjenu jer omogućavaju izradu lakih i čvrstih dijelova zrakoplova s nevjerojatno glatkim površinama. Čista plastična masa, koja može biti prirodna i sintetička, ne može se upotrijebiti kao noseći konstruktivni materijal za gradnju i pored visoke specifične čvrstoće (veća od nekih čelika). Čvrstoća na lom joj je mala (5 – 8 kp/), nedovoljno je žilava i nepostojana je na povišenim temperaturama. Da bi se ove osobine poboljšale i dovele do razmjera koji omogućavaju korištenje plastičnih masa kao konstruktivno nosećeg materijala, vrši se njeno armiranje. Na taj način je dobiven sasvim novi kompozitni materijal koji ima mehaničke osobine na nivou legiranih čelika. Prednosti kompozitnih materijala ogleda se u maloj težini uz veliku čvrstoću, stabilnosti oblika, kemijska postojanost, postojanost prema atmosferskim utjecajima, visoka dinamička otpornost, lakoća obrade, sposobnost prigušivanja zvuka itd. Negativne strane su im osjetljivost na ultraljubičasto zračenje, te složene tehnike popravka u slučaju oštećenja.
"Sendvič konstrukcija"

- Pored primjene armiranih materijala u izradi oplate veliku primjenu su našle "Sendvič konstrukcije". Ovaj tip konstrukcije sastoji se od dvije ili više kora (nosećih oplata), koje su međusobno rastavljene ispunom, materijalom male specifične težine slijepljen s korama. Zadatak ispune je da prenese opterećenje s jedne na drugu koru, dok sama oplata, tj. oplate primaju cjelokupno opterećenje. Puni značaj sendvič – sustava dobivamo pri opterećenju na pritisak s izvijanjem i pri djelovanju tangencijalnih sila (torzija, smicanje).
Tkanine
Od tkanina se kod malih zrakoplova i jedrilica upotreblja laneno i pamučno platno. Tkanine se koriste za presvlačenje krilaca , zakrilaca i dijelova krila. Pričvršćenje platna na konstrukciju vrši se na više načina. Najčešće se koristi lijepljenje bezbojnim nitroceluloznim lakom i prošivanje na površinama velike zakrivljenosti. U procesu daljnje proizvodnje cijela površina platna podvrgava se celoniranju da bi se dobila zategnutost. Završna operacija je bojenje nitro ili sintetičkom bojom. Najveći nedostatak platnene oplate je njezina zapaljivost i osjetljivost na ultraljubičaste zrake. Vrlo se često platnom presvlače i površine koje su prethodno obuhvaćene ljepenkom. Cilj postupka je povećanje otpornosti ljepenke, kao i zaštita drvenih površina od atmosferskih utjecaja. Površine koje su dvojako presvučene, tj. ljepenkom i platnom omogućavaju postizavanje veće kvalitete glatkoće.
Drvo
U zrakoplovstvu se do Prvog svjetskog rata kao materijal za gradnju koristilo isključivo drvo. Za vrijeme Drugog svjetskog rata, iako već tada zastarjele, drvene su se konstrukcije pojavile na nekim avionima kao rješenje za nestašicu aluminija. Danas se, osim u jedriličarstvu i modelarstvu, drvo gotovo i ne koristi jer je zamijenjeno lakim legurama i kompozitnim materijalima.
Vidi još
Ostali projekti
| Pogreška pri izradbi sličice: | Wikiknjige imaju materijala na temu: Knjiga pojmova u zrakoplovstvu/W/Krilo zrakoplova |