Ikonoskop

Ikonoskop je prva elektronska cijev za snimanje (pretvorbu pomične optičke slike iz svjetlosnog u elektronički oblik - optoelektronika). Patentirao ga je 1923. američki izumitelj ruskoga podrijetla V. K. Zworykin. Iako su ikonoskop ubrzo zamijenile naprednije cijevi za snimanje (vidikon, ortikon, poslije i poluvodički slikovni senzori), taj je izum, s kineskopom, omogućio razvoj moderne televizije. [1]
Objašnjenje
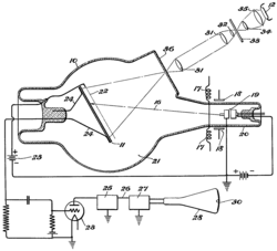
Ikonoskop je elektronski analizator s mozaičnom fotokatodom. On pretvara optičke slike u električne impulse. Ikonoskop je najvažniji organ u televizijskom prijenosu. Glavni dio ikonoslopa je fotokatoda, to jest mozaik od samih fotoćelija koji se nalazi na zaslonu Z. Zaslon se sastoji od tanke liskunove pločice kod koje je strana, okrenuta predmetu, prevučena tankim fotoosjetljivim slojem. Na drugoj strani liskuna nalazi se tanka metalna ploča M. Fotoosjetljivi sloj sastoji se od golemog broja najsitnijih čestica cezijeva oksida koje su međusobno izolirane. Te čestice čine katode malih fotoćelija koje imaju zajedničku anodu A-A. Ujedno svaka čestica predstavlja jednu elektrodu sitnog električnog kondenzatora, dok je metalna ploča M zajednička elektroda toga kondenzatora. Slika predmeta P stvara se na zaslonu Z pomoću optičke leće O.
Kada svjetlost udari na zaslon, nastat će fotoelektrični učinak ili efekt, pa će svaka čestica emitirati to više elektrona što je svjetlosni snop koji je na nju pao jači. Elektrone privlači anoda A-A. Zbog toga će se čestice fotoćelija nabiti pozitivnim elektricitetom, a metalna ploča M vezat će na sebe elektrone koji dolaze kroz električni otpornik R iz baterije. Tako je optička slika pretvorena u električnu. Kako je naime na fotokatodu projicirana slika sastoji od svjetlijih i tamnijih mjesta, tako će i neke točke biti više ili manje električki nabijene. Tu sliku treba sada prenijeti od točke do točke elektromagnetskim valovima 25 puta u sekundi. To se prenošenje zove otipkavanje, a vrši se pomoću katodnih zraka. U ikonoskopu je užarena katoda, koja je izvor elektrona, to jest katodnih zraka, koji se posebnim sistemom elektroda ubrzavaju i koncentriraju u tanku katodnu zraku. Kako se svaka slika mora podijeliti na mnogo dijelova, potreban je uređaj za otklanjanje katodne zrake, čemu služe elektromagnetske zavojnice, koje svojim magnetskim poljima djeluju na katodnu zraku tako da ona opisuje niz paralelnih crta na fotokatodi.
Fotokatoda ima pravokutan oblik i po njoj katodna zraka ide jednoličnom brzinom putem 1-1, zatim preskoči na suprotnu stranu, te ide putem 3-3, opet preskoči pa ide putem 5-5, zatim putem 7-7 i tako dalje uzduž neparnih redova. Kada katodna zraka svrši s neparnim redovima, dođe na donji kraj fotokatode, preskoči gore na početak i opisuje parne redove. Po europskoj normi omjer duže stranice slike prema kraćoj je 4:3 i ta se slika opisuje u najmanje 626 crta tako da se svake sekunde prenese 25 slika. U 1/50 sekunde prenesu se neparne, a u drugoj 1/50 sekunde parne crte. Prema tome cijela je slika prenesena u 1/50 + 1/50 = 2/50 = 1/25 sekunde. Znači da se svake sekunde prenese najmanje 25∙625 = 15 625 crta najmanje.
Čim katodna zraka udari na jednu točku fotokatode, ona poništi njen pozitivan naboj, a elektroni vezani na metalnoj ploči oslobode se te slabijim ili jačim električnim impulsom, to jest slabijom ili jačom električnom strujom odlaze u pojačalo. Iz pojačala izlaze električni impulsi čija se jakost mijenja na isti način kao rasvjeta slike. Time se slika razlaže u niz električnih impulsa različite jakosti. Ti se impulsi nametnu valu nosiocu, pa ga moduliraju, a onda se emitiraju u prostor. Istovremeno s emisijom slike prenosi se i tonski dio slike, ali preko druge antene i na drugom valu nosiocu. [2]